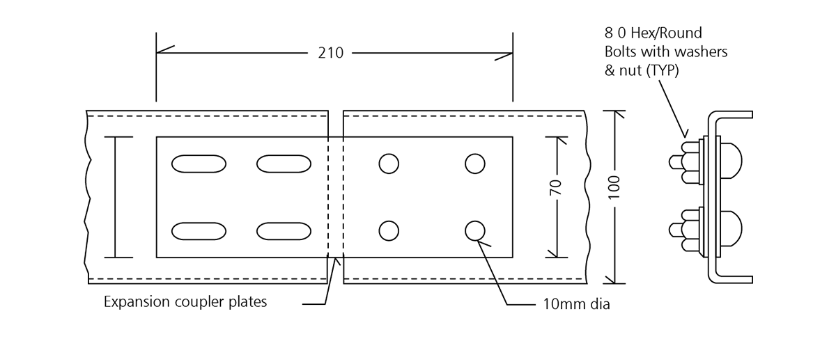
Cable Trays Accessories include Horizontal & Vertical Bends, Reducers, Cross, Tees, Clamps, Slotted Angles, Flexible Jumpers, Coupler Plates etc. for Trays.
Material : MS Sheet & Angle / SS Sheet/ Aluminium Sheet & Angle etc.
Finish : Red Oxide/ Enamel Paint/ Epoxy Paint/ Powder Coating / Hot Dip Galvanised / Anodised or as per customer specification. H = 50 to 200 mm W/WW = 100 to 1200 mm D = 30/45/60/90/120 Deg R = 150 to 1200 mm Accessories can be made as per customer specification too.
Schedule of Permissible Loads
All figures given repressent the maximum permissible uniformly distributed load in kgs. per running
meter Unsupported Free Span
Formula
The maximum permissible The maximum permissible point load at-mid-span may be obtained from the formula
P
= ½ X U X C
Where P
= maximum permissible point load in kgs at mid-span.
U
= maximum permissible uniformly distributed load in kg per running meter.